Warning: unlink(/home/m235/web/s-a.com.ua/public_html/storage/cache/cache.catalog.language.1766730189): No such file or directory in /home/m235/web/s-a.com.ua/public_html/system/library/cache/file.php on line 68 Реле тиску KP 1 (-0,2 — 7,0 bar)
Каталог товарів
Меню

Реле тиску KP 1 (-0,2 — 7,0 bar)

0 відгуків

90 грн.
В наявності
Доставка. Самовивіз з поштових відділень Нова Пошта та Укр Пошта або доставка кур'єром на адресу

Оплата. Оплата під час отримання товару, Google Pay, Безготівковий для юридичних та фізичних осіб, Apple Pay, Передплата на картку продавця, Оплата карткою Visa/MasterCard

Гарантія. 12 місяців
Обмін/повернення товару впродовж 14 днів
Опис

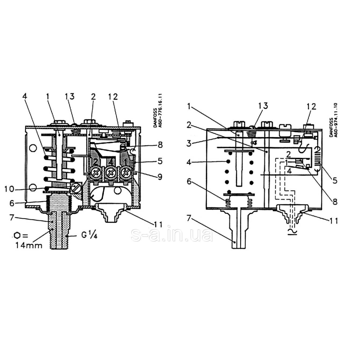
Реле тиску типу КР/КРI призначені для регулювання, поточного контролю й аварійної сигналізації в промисловості. Встановлюються в системах із рідкими та газоподібними середовищами. Реле тиску забезпечені однополюсними вимикачами, які замикають або розмикають електричний ланцюг у разі зміни тиску в системі порівняння з заданим.

Основні параметри
• Діапазон тисків: -0,2...28 барів
• Дуже малий час спрацьовування
• Легкий монтаж
• Підходить для комутації навантаження як змінного, так і постійного струму
• Для нейтральних рідин (KPI), газоподібних середовищ і повітря
• Клас захисту корпусу IP33, IP44 під час монтажу з верхньою кришкою й задньою платою або IP55 під час використання додаткового корпусу
• Компактні розміри не вимагають великого простору.
• Стійкість до ударів і вібрації

Перекладна таблиця одиниць вимірювання тиску

Бари

1бар = 0.1МПа
1бар = 100 кПа
1бар = 1000 мбар
1бар = 1.019716 кгс/см2
1бар = 750 мм.рт.ст.(торр)
1бар = 10197.16 кгс/м2 (атм.тех.)
1бар = 10197.16 мм вод. ст.
1бар = 0.986 атм. физ.
1бар = 10 Н/см2
1бар = 1000000 дин /см2=106дин/см2
1бар = 14.50377 psi (фунт на квадратний дюйм)

1 мбар = 0.1 кПа
1 мбар = 0.75 мм. рт. ст. (торр)
1 мбар = 10.19716 кгс/м2
1 мбар = 10.19716 мм вод. ст.
1 мбар = 0.401463 in.H2O (дюйм водяного стовпа)
 

МПа

кПа

1МПа = 1000000 Па
1МПа = 1000 кПа
1МПа = 10.19716 кгс/см2 (атм.тех.)
1МПа = 10 бар
1МПа = 7500 мм. рт. ст. (торр)
1МПа = 101971.6 мм вод. ст.
1МПа = 101971.6 кгс /м2
1МПа = 9.87 атм. физ.
1МПа = 106 Н/м2
1МПа = 107дин/см2
1МПа = 145.0377 psi
1МПа = 4014.63 in.H2О

1кПа = 1000 Па
1кПа = 0.001МПа
1кПа = 0.01019716 кгс/см2
1кПа = 0.01 бар
1 кПа = 7.5 мм. рт. ст. (торр)
1кПа = 101.9716 кгс/м2
1кПа = 0.00987 атм. физ.
1кПа = 1000 Н/м2
1кПа =10000 дин/см2
1кПа = 10 мбар
1 кПа =101.9716 мм. вод. ст.
1кПа = 4.01463 in.H2O
1кПа = 0.1450377 psi
1кПа = 0.1Н/см2

КГС/СМ2 (АТМ.ТЕХ.)

ММ.РТ.СТ. (ТОРР)

1кгс/см2 = 0.0980665 МПа
1кгс/см2 = 98.0665 кПа
1кгс/см2 = 0.980665 бар
1 кгс/см2 = 736 мм.рт.ст. (торр)
1 кгс/см2 = 10000 мм.вод.ст.
1кгс/см2 = 0.968 атм. физ.
1кгс/см2 = 14.22334 psi
1кгс/см2 = 9.80665 Н/см2
1кгс/см2 = 10000 кгс/м2

1мм.рт.ст. = 133.3 ·10-6 МПа
1мм.рт.ст. = 0.1333 кПа
1мм.рт.ст. = 133.3 Па
1мм.рт.ст. = 13.6 ·10-4 кгс/см2
1мм.рт.ст. = 13.33 ·10-4 бар
1 мм.рт.ст. = 1.333 мбар
1 мм.рт.ст. = 13.6 мм.вод.ст.
1мм.рт.ст. = 13.16 ·10-4 атм. физ.
1мм.рт.ст. = 13.6 кгс/м2
1 мм.рт.ст. = 0.019325 psi
1 мм.рт.ст. = 75.051 Н/см2

ММ.ВОД.СТ.(КГС/М2)

1 ммвод.ст. = 9.80665 · 10 -6 МПа
1 мм.вод.ст. = 9.80665 · 10 -3 кПа
1 ммвод.ст. = 0.980665 · 10-4 бара
1 ммвод.ст. = 0.0980665 мбар
1 мм.вод.ст. = 0.968 · 10-4 атм.фіз.
1 ммвод.ст. = 0.0736 мм.рт.ст.(торр)
1 мм.вод.ст. = 0.0001кгс/см2
1 мм.вод.ст. = 9.80665 Па
1 ммвод.ст. = 9.80665 ·10-4 Н/см2
1 мм.вод.ст. = 703.7516 psi

 

Характеристики
Ступінь захисту IP 33
Матеріал корпусу Металл, Пластик
Приєднання G¼“ внешнее
Тип виходу Реле
Контрольована середа Инертные газы, Газ, Воздух, Природній газ, Топкові гази
Відгуки покупців
Написати відгук
Ваша оцінка